12kV真空接觸器的旁路柜如何切換操作?其步驟是什么?
旁路柜是高壓變頻器、軟啟動器常用的切換裝置,便于出現故障時可以變頻運行轉為工頻運行,確保電機運行不受影響。為了方便讀者了解旁路柜的工作原理,本文以12kV真空接觸器的自動旁路柜方案為例,圖文并茂講解其具體操作流程。
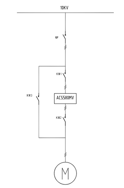
一、操作流程

1、變頻啟動
(1)QF,KM1~3處于分閘位置,確認QF柜接地開關己分閘,QF己搖到工作位置,QF斷路器己儲能;
(2)分別按順序合上KM2、KM1、QF;
(3)變頻啟動電機;
2、變頻停止
(1)變頻停止電機;
(2)分別按順序斷開QF、KM1、KM2;
(3)QF搖到試驗位置,合QF柜接地開關;此時可以檢修變頻器及電機;
3、工頻啟動
(1)QF,KM1~3處于分閘位置,確認QF柜接地開關己分閘,QF己搖到工作位置,QF斷路器己儲能;
(2)合上KM3、合上QF啟動電機
4、工頻停止
(1)斷開QF;
(2)分KM3;
(3)QF搖到試驗位置,合QF柜接地開關,此時可以檢修電機;

二、操作過程的注意事項
1、本操作流程均建立在QF、KM1、KM2、KM3初始狀態都是分斷的前提下;
2、KM1~2與KM3電氣聯鎖,工頻方式和變頻方式只能二選一。

得潤電氣自主設計生產的旁路柜,其自動切換方案除了搭配真空接觸器,還可以搭配真空斷路器,工作原理和操作流程是一樣的。根據項目的配電需求不同,選擇合適的旁路切換方式。











